Current Weather

Currently on MIX 106.5

Step Into Christmas
Elton John

Currently on WSGN

Sweet Caroline
Neil Diamond

CURRENTLY ON KiX 100.3

Every Little Thing
Carlene Carter

Sylacauga inventions: which could you live without?

SHARE NOW

SYLACAUGA, Ala. – Today we are celebrating National Inventors Day. Do you take clothespins, your toothbrush, your mom’s ironing board, your morning syrup pitcher, fire hydrants, boat rowing and steering systems, a fishing lure, your modern car’s low tire pressure monitor, automatic train switches, and even your neighbor’s cool fallout shelter for granted?

Seriously.

Think again! Many of these were invented in Sylacauga.

Our images below feature just some of the supporting drawings filed with the U.S. Patent and Trademark Office.

— John Emory Berkstresser’s “Syrup Pitcher”, Jan. 17, 1899.
— John Emory Berkstresser’s “Automatic Switch for Railway Crossings”, March 6, 1900.
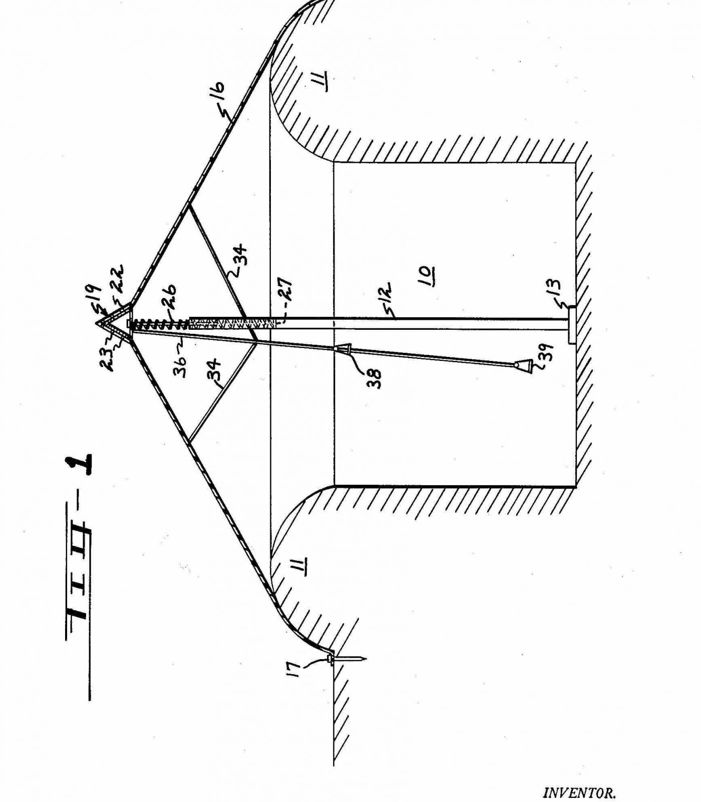
— William W. Davis’ “Combined Harrow and Cultivator”, June 8, 1915.
— Eugene T. Tapley’s “Auto Theft Indicator”, Dec. 30, 1919.
— Ordellia M. Eastwood’s “Ironing Board”, July 28, 1925.
— Alonzo B. Parker’s “Fire Hydrant”, Feb. 9, 1926.
— Stephen N. Coleman’s “Hand Clamp”, Aug. 30, 1927.
— Julius M. Davis’ “Toothbrush”, July 16, 1940.
— Robert D. Smith’s “Clothespin”, March 5, 1946.
— Howard J. Cherry’s “Harness Actuated Stop Motion”, March 29, 1949.
— Richard R. Pope’s “Cradle for Long Draft Spinning”, June 12, 1951.
— Richard R. Pope’s “Condenser for Long Draft Spinning”, April 8, 1952.
— Carl E. Mims’ “Rowing and Steering Device for Boats”, Nov. 2, 1954.
— Frederick Laurence Dillingham’s “Means for Moving Elongated Objects Transversely of the Line of Travel Thereof”, Jan. 27, 1959.
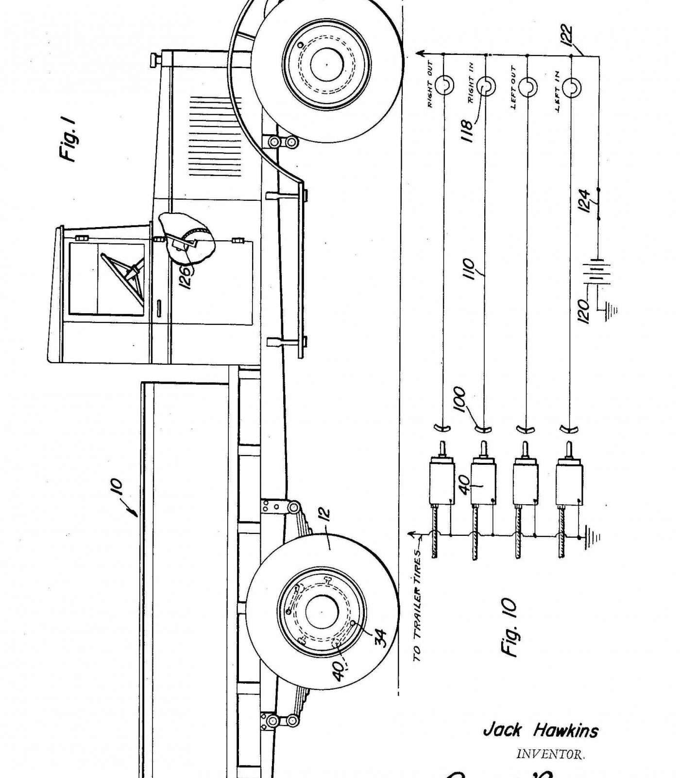
— Jack Hawkins’ “Tire Pressure Signal Device”, Nov. 1, 1960.
— Ewel J. Morris Jr.’s “Fallout Shelter”, Dec. 22, 1964.
— Fredrick S. Hagans’ “Vehicle Low Tire Pressure Signal System”, Feb. 29, 1972.
— Dallas F. Weldon’s “Fishing Lure”, June 26, 1973.
— Isaac N. McAllister’s “Pneumatic Multi-Station Remote Controlled Switching Station”, April 1, 1975.

What is a patent? Issued by the USPTO, a patent is the grant of a property right to the inventor. Hundreds of inventions have been patented by people from Sylacauga.

Was an inventor in your family or neighborhood? Interested in searching for more or seeing full patent records and images? Click here to scan the United States Patent & Trademark Office’s full patent database. Note that patents issued from 1790 through 1975 are searchable only by patent number, issue date, and classifications.


Click here to e-mail the reporter.© 2016-2023, SylacaugaNews.com/Marble City Media LLC/RadioAlabama. All Rights Reserved. RadioAlabama’s network -- MIX 106.5 (& 98.3 HD2), WSGN, KiX 100.3 (& 1290 AM), 105.1 WRFS, KiX 96.3 (& 1050 AM), RadioAlabama Sports, and RA Digital -- along with SylacaugaNews.com reports local news around the clock and will keep you up-to-date during breaking news and weather. For real-time alerts from SylacaugaNews.com, text NEWS to 59925. Standard text message rates may apply. By signing up, you agree to receive ongoing text message alerts from RadioAlabama. Consent not required for purchase. Up to eight messages per month. Reply STOP to cancel. Reply HELP for help. Message & Data rates may apply. Terms and Conditions/Privacy Policy @ www.optspot.com/tnc.